《建筑结构加固工程施工质量验收规范》GB 50550-2010
14 砌体柱外加预应力撑杆工程 / 14.3 撑杆制作
14.3.1 预应力撑杆及其部件宜在现场就近制作。制作前应在原构件表面画线定位,并按实测尺寸下料、编号。
检查数量:全数检查。
检验方法:观察,检查编号。
14.3.2 撑杆的每侧杆肢由两根角钢组成,并以钢缀板焊接成槽形截面组合肢(简称组合肢)。其截面尺寸及缀板尺寸、间距等应符合设计规定。
检查数量:全数检查。
检验方法:观察,钢尺量测。
14.3.3 在组合肢中点处,应将角钢侧立翼板切割出三角形缺口,并将组合肢整体弯折成设计要求的形状和尺寸(参照本规范图8.3.4-1)。然后在弯折角钢另一完好翼板的该部位,用预先弯好的补强钢板焊上。补强钢板的厚度应符合设计要求。
检查数量:全数检查。
检验方法:观察,钢尺量测。
14.3.4 撑杆组合肢的上下端应焊有钢制抵承板(传力顶板),抵承板的尺寸和板厚应符合设计要求,且板厚不应小于14mm。抵承板与承压板及撑杆肢的接触面应经刨平。
检查数量:全数检查。
检验方法:观察,钢尺及游标卡尺量测。
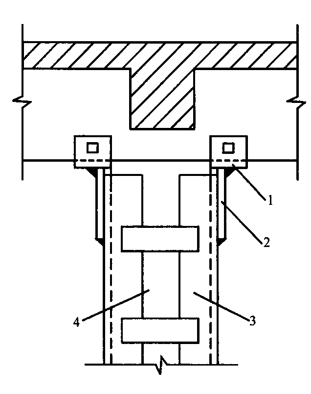
14.3.5 制作撑杆肢承力构造的承压板时,应根据所采用的锚栓品种确定其构造方式。当采用埋头锚栓与上部混凝土构件锚固时,宜采用角钢制成(参照本规范图8.3.4-2);当采用一般锚栓时,应将承压板做成槽形(图14.3.5),套在上部混凝土构件上,从两侧进行锚固。承压板的厚度应符合设计要求。承压板与抵承板相互顶紧的面,应经刨平。
检查数量:全数检查。
检验方法:观察,游标卡尺量测。

1—槽形承压板;2—抵承板(传力顶板);3—撑杆组合肢;4—被加固砌体柱
14.3.6 预应力撑杆的横向张拉构造,可利用本规范第14.3.3条的补强钢板钻孔(图14.3.6),穿以螺杆,通过收紧螺杆建立预应力。张拉用的螺杆,其净直径不应小于18mm;其螺母高度不应小于1.5d(d为螺杆公称直径)。
检查数量:全数检查。
检验方法:观察,游标卡尺量测。

1—补强钢板;2—拉紧螺栓;3—钻孔(供穿拉紧螺栓用);4—撑杆;
5—被加固砌体柱螺杆,其净直径不应小于18mm;其螺母高度不应小于1.5d(d为螺杆公称直径)。
14.3.7 预应力撑杆钢部件及其连接的制作、加工质量应符合现行国家标准《钢结构工程施工质量验收规范》GB 50205的规定。
检查数量及检验方法按该规范的规定执行。
14.3.8 钢部件及其连接的加工偏差应符合现行国家标准《钢结构工程施工质量验收规范》GB 50205对加工允许偏差的规定。
检查数量及检验方法按该规范的规定执行。