《建筑结构加固工程施工质量验收规范》GB 50550-2010
8 混凝土构件外加预应力工程 / 8.3 张拉施工
8.3.1 预应力拉杆张拉前,应检测原构件的混凝土强度;其现场推定的强度等级应基本符合现行国家标准《混凝土结构设计规范》GB 50010对预应力混凝土结构的混凝土强度等级的规定。
若构件锚固区填充了混凝土,其同条件养护的立方体试件抗压强度,在张拉时,不应低于设计规定的强度等级的80%。
检查数量:全数检查。
检验方法:检查原构件混凝土强度检测报告及锚固区充填混凝土同条件养护试块的强度试验报告。
8.3.2 当采用机张法张拉预应力拉杆时,其张拉力、张拉顺序和张拉工艺应符合现行国家标准《混凝土结构工程施工质量验收规范》GB 50204的有关要求,并应符合下列规定:
1 应保证张拉施力同步、应力均匀一致;
2 应实时控制张拉量;
3 应防止被张拉构件侧向失稳或发生扭转。
检查数量及检验方法按上述规范执行。
8.3.3 当采用横向张拉法张拉预应力拉杆时,应遵守下列规定:
1 拉杆应在施工现场调直,然后与钢托套、锚具等部件进行装配。调直和装配的质量应符合设计要求;
2 预应力拉杆锚具部位的细石混凝土填灌、钢托套与原构件间隙的填塞,拉杆端部与预埋件或钢托套连接的焊缝等的施工质量应检查合格;
3 横向张拉量的控制,可先适当拉紧螺栓,再逐渐放松至拉杆仍基本平直、尚未松弛弯垂时停止放松;记录此时的读数,作为控制横向张拉量ΔH的起点;
4 横向张拉分为一点张拉和两点张拉。两点张拉时,应在拉杆中部焊一撑棒,使该处拉杆间距保持不变(图8.3.3),并应用两个拉紧螺栓,以同规格的扳手同步拧紧;
5 当横向张拉量达到要求后,宜用点焊将拉紧螺栓的螺母固定,并切除螺杆伸出螺母以外部分。
检查数量:全数检查。
检验方法:观察,检查见证张拉施工记录。

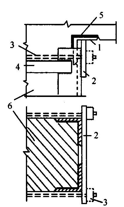
1—水平拉杆;2—拉紧螺栓;3—被加固构件;4—撑棒
8.3.4 当采用横向张拉法张拉预应力撑杆时,应符合下列规定:
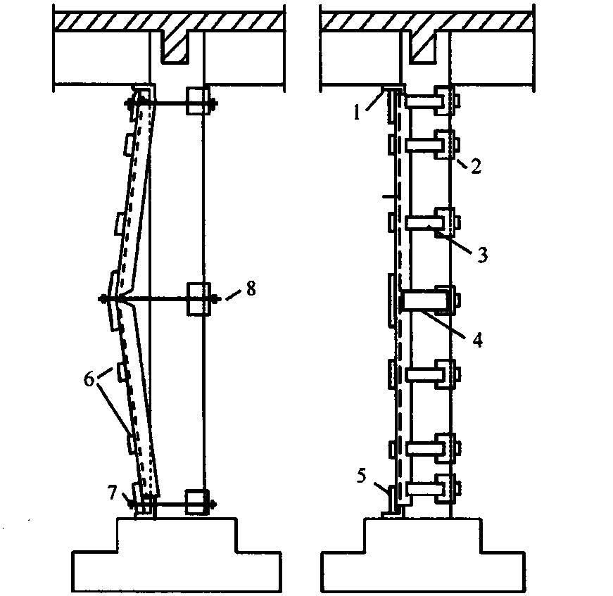
1 宜在施工现场附近,先用缀板焊连两个角钢,形成组合杆肢,然后在组合杆肢中点处,将角钢的侧立肢切割出三角形缺口,弯折成所设计的形状;再将补强钢板弯好,焊在角钢的弯折肢面上(图8.3.4-1)。

1—角钢撑杆;2—剖口处箍板;3—补强钢板;4—拉紧螺栓
3 预应力撑杆的横向张拉量应按设计值严格进行控制,可通过拉紧螺栓建立预应力(预顶力)。

1—角钢制承压板;2—传力顶板;3—安装用螺栓;4—箍板;5—胶缝;6—原柱
4 横向张拉完毕,对双侧加固,应用缀板焊连两个组合杆肢(图8.3.4-3);对单侧加固,应用连接板将压杆肢焊连在被加固柱另一侧的短角钢上,以固定组合杆肢的位置(图8.3.4-4)。焊接连接板时,应防止预压应力因施焊受热而损失;可采取上下连接板轮流施焊或同一连接板分段施焊等措施以减少预应力损失。焊好连接板后,撑杆与被加固柱之间的缝隙,应用细石混凝土或砂浆填塞密实。

1—抵承板(传力顶板);2—撑杆;3—缀板;4—加宽缀板;5—安装螺栓;6—拉紧螺栓

1—承压板(承压角钢);2—短角钢;3—连接板;4—加宽连接板;5—抵承板(传力顶板);
6—缀板;7—安装螺栓;8—拉紧螺栓
检验方法:观察,检查见证张拉施工记录。