《既有建筑地基基础检测技术标准》JGJ/T 422-2018
附录D 裂缝宽度动态监测仪安装要点
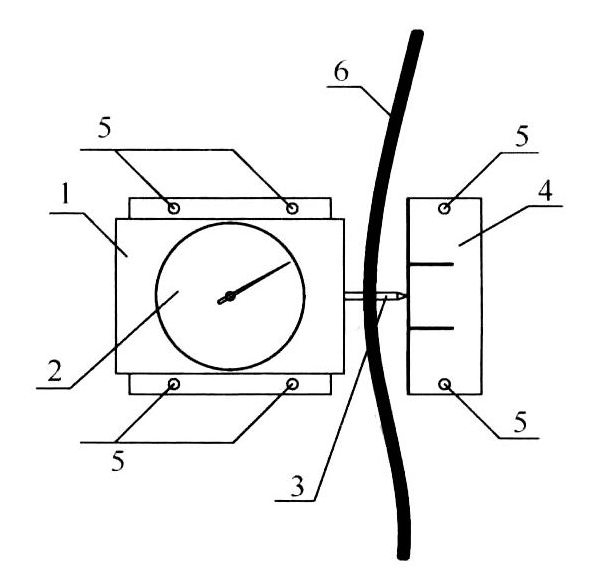
D.0.1 裂缝动态监测仪宜由壳体、表体和基准板组成。
D.0.2 裂缝动态监测仪应沿被监测裂缝变化趋势最大方向安装。
D.0.3 用膨胀螺栓将表体和基准板固定于被测裂缝两侧的墙体上,使表体和基准板的中轴线垂直于被监测裂缝。
D.0.4 表体安装后,其弹性杆应指向裂缝一侧(图D.0.4)。

1—表体;2—百分表;3—表体弹性杆;4—基准板;
5—固定螺钉;6—被测裂缝
D.0.5 墙角、梁柱边位置的裂缝监测,可不用基准板,直接安装表体,表体弹性杆接触的墙面应光滑、牢固。
D.0.6 监测前,调节基准板螺钉,使表中小指针至小表盘中间位置后,再转动表面,调节大指针到“0”位。
D.0.7 安装仪器壳体,固定牢固后,应在面盖上加锁防护。
D.0.8 测量读数时,小指针指示数据变大,表明裂缝在变小;小指针指示数据变小,表明裂缝在变大。
D.0.9 裂缝动态监测仪的大指针读数应根据外圈表盘上的小字刻度读数,大指针转一圈,小指针走一格,为1.0mm。