《既有建筑地基基础检测技术标准》JGJ/T 422-2018
4 地基检测 / 4.4 静载荷试验
4.4.1 静载荷试验可用于确定天然地基、处理后地基和复合地基的承载力。
4.4.2 既有建筑地基的静载荷试验数量,同条件下不宜少于3点。
4.4.3 试验加载设备、荷载测量仪器和沉降测量仪器应符合现行行业标准《建筑地基检测技术规范》JGJ340的规定。
4.4.4 天然地基的静载荷试验加载分级、稳定标准和终止加载条件应符合现行国家标准《建筑地基基础设计规范》GB 50007的规定,其他地基应符合现行行业标准《建筑地基处理技术规范》JGJ79的规定。
4.4.5 加载反力装置宜选用既有建筑的自重作为压重,并应符合下列规定:
1 既有建筑自重提供的反力不得小于最大加载量的1.2倍;
2 应对提供反力的既有建筑进行强度验算或加固,试验不应破坏或影响既有建筑及其正常使用;
3 宜对作为压重的既有建筑局部构件进行检测、监测。
4.4.6 静载荷试验点应选择在既有建筑上部结构刚度大、完整性好的部位。
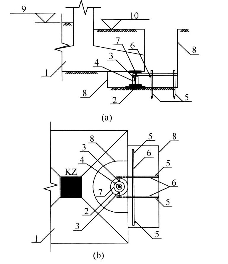
4.4.7 静载荷试验千斤顶或千斤顶上的压力传感器应直接与基础下钢垫板或钢梁接触(图4.4.7),钢垫板或钢梁尺寸可根据基础强度和加载量确定。基底与钢垫板或钢梁间、承压板下宜铺设中粗砂找平。

4.4.8 以既有建筑自重作为反力时,应按本标准附录B要求对基础分别进行受弯验算、受冲切验算、受剪验算和局部受压验算。
4.4.9 静载荷试验的承压板宽度或直径应符合下列规定:
1 对天然地基,应符合现行国家标准《建筑地基基础设计规范》GB 50007的规定;
2 对处理后地基,不宜小于处理深度或影响深度的0.3倍,且面积不应小于0.5m2;
3 对单桩复合地基或多桩复合地基,应符合现行行业标准《建筑地基处理技术规范》JGJ79的规定。
4.4.10 静载荷试验的试坑开挖完成后应及时进行试验,试坑及开挖应符合下列规定:
1 同一建筑同条件下的静载荷试验试坑开挖形状、尺寸应相同;
2 开挖尺寸应满足试验仪器设备安装、操作空间和试验要求;
3 试验坑侧壁土体含水量较大或较松散时,应采取支撑、支护等防护措施。
4.4.11 试验坑坑壁土体较密实稳定时,基准桩可设置在垂直于基础方向的坑壁上;坑壁含水量较大或土质松散时,基准桩宜设置在坑底,承压板与基准桩间的净距不应小于承压板的边长或直径。
4.4.12 地基承载力特征值的确定应符合下列规定:
1 天然地基,应符合现行国家标准《建筑地基基础设计规范》GB 50007的规定;
2 处理后地基和复合地基,应符合现行行业标准《建筑地基处理技术规范》JGJ79的规定,复合地基承载力特征值也可采用增强体载荷试验结果和其周边土承载力特征值结合经验确定;
3 试坑开挖尺寸小于3倍承压板宽度或直径时,根据其确定的地基承载力特征值不宜进行深度修正。