《既有建筑地基基础检测技术标准》JGJ/T 422-2018
6 基桩检测 / 6.2 基桩静载荷试验
6.2.1 基桩静载荷试验可用于确定地下水位以上、既有基础下有操作空间且适宜试验的单桩竖向抗压承载力、水平承载力、抗拔承载力以及复合地基中有粘结强度增强体的竖向抗压承载力。
6.2.2 竖向静载荷试验基桩应选择在既有建筑上部结构刚度大、完整性好且易于安装反力装置的部位;水平静载荷试验单桩宜选择在基础边缘。
6.2.3 基础下基桩承载力检测数量应符合下列规定:
1 拟增层、增载、接建、紧邻新建、邻近大面积堆载、邻近基坑开挖、邻近地下工程施工、附近地下水抽降和拟顶升的既有建筑基桩检测,同一条件下不应少于3根;
2 平移轨道基桩检测应符合现行行业标准《建筑基桩检测技术规范》JGJ106的规定;
3 发生事故的既有建筑基桩检测,同一条件下不应少于3根,且不宜少于总桩数的0.5%;当基桩总数在50根以内时,不应少于2根。
6.2.4 既有建筑基桩静载荷试验加载设备、荷载测量仪器和沉降测量仪器以及加载分级、稳定标准和终止加载条件应符合现行行业标准《建筑基桩检测技术规范》JGJ106的规定。最大加载值应符合下列规定:
1 拟增层、增载的既有建筑基桩,不应小于拟加大荷载后设计要求的单桩承载力特征值的2.0倍;
2 移位轨道基桩,不应小于设计要求的单桩承载力特征值的1.5倍;
3 发生事故的既有建筑基桩,宜加载至破坏。
6.2.5 对于端承型大直径灌注桩,当受设备或现场条件限制无法检测单桩竖向抗压承载力时,可临近灌注桩成孔,采用深层平板载荷试验或岩石地基平板载荷试验检测桩端持力层承载力,试验应符合现行国家标准《建筑地基基础设计规范》GB 50007的规定。
6.2.6 加载反力装置宜选用既有建筑自重作为压重,并应符合本标准第4.4.5条的规定,其验算应符合本标准第4.4.8条的规定。
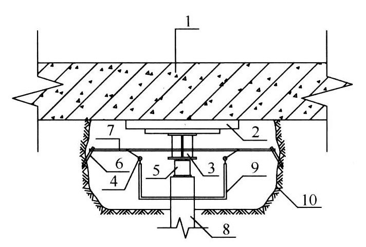
6.2.7 基桩竖向抗压试验千斤顶宜通过钢梁、钢垫板等支撑在既有建筑刚度大、完整性好的部位(图6.2.7),钢板或钢梁尺寸的确定应符合本标准第4.4.7条的规定。

1—既有建筑基础;2—钢垫板;3—反力梁;4—百分表;5—千斤顶;
6—基准桩;7—基准梁;8—桩;9百分表支杆;10—试坑壁
6.2.8 基桩竖向抗压静载荷试验的试坑侧壁不稳定时,应采取支撑、支护等防护措施;试坑开挖尺寸应满足试验仪器设备安装、操作空间和试验要求。
6.2.9 试验坑坑壁较密实稳定时,基准桩可安置在坑壁上;坑壁含水量较大或松散时,基准桩宜安置在坑底,试桩中心与基准桩中心距离不应小于3倍桩径。
6.2.10 基桩承载力特征值的确定应符合现行行业标准《建筑基桩检测技术规范》JGJ106的规定。