《木结构工程施工质量验收规范》GB 50206-2012
附录F 受弯木构件力学性能检验方法 / F.3 试验装置与试验方法
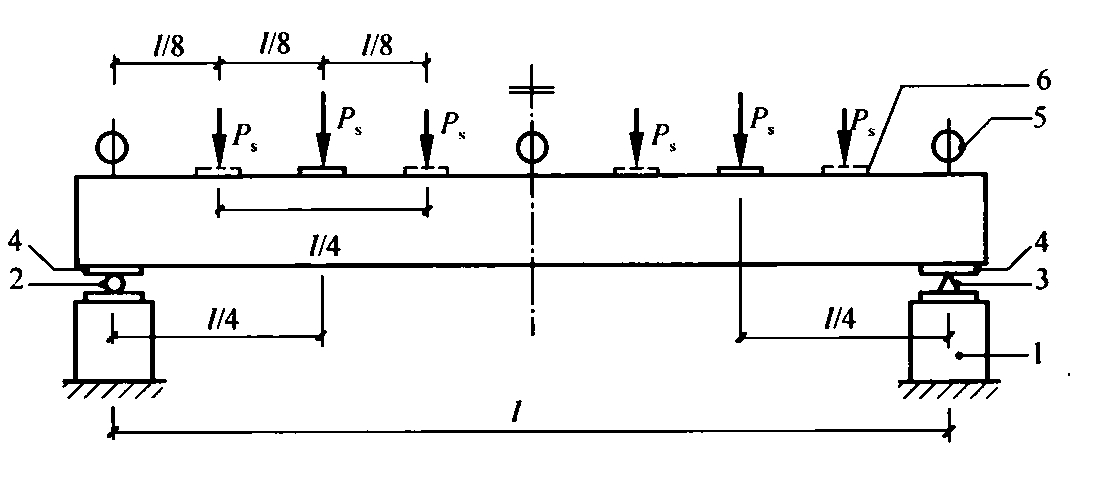
F.3.1 试件应按设计计算跨度(l0)简支地安装在支墩上(图F.3.1)。滚动铰支座滚直径不应小于60mm,垫板宽度应与构件截面宽度一致,垫板长度应由木材局部横纹承压强度决定,垫板厚度应由钢板的受弯承载力决定,但不应小于8mm。

1—支墩;2—滚动铰支座;3—固定铰支座;4—垫板;5—位移计(百分表);
6—加载垫板;Ps—加载点的荷载;l—试件跨度
F.3.2 当构件截面高宽比大于3时,应设置防止构件发生侧向失稳的装置,支撑点应设在两支座和各加载点处,装置不应约束构件在荷载作用下的竖向变形。
F.3.3 当构件计算跨度l0≤4m时,应采用两集中力四分点加载;当l0>4m时,应采用四集中力八分点加载。两种加载方案的最大试验荷载(检验荷载)Psmax(含构件及设备重力)应按下列公式计算:

F.3.4 荷载应分五相同等级,应以相同时间间隔加载至试验荷载Psmax,并应在10min之内完成。实际加载量应扣除构件自重和加载设备的重力作用。加载误差不应超过±1%。
F.3.5 构件在各级荷载下的跨中挠度,应通过在构件的两支座和跨中位置安装的3个位移计测定。当位移计为百分表时,其准确度等级应为1级;当采用位移传感器时,准确度不应低于1级,最小分度值不宜大于试件最大挠度的1%;应快速记录位移计在各级试验荷载下的读数,或采用数据采集系统记录荷载和各位移传感器的读数,同时应填写表F.3.5;应仔细检查各级荷载作用下,构件的损伤情况。
表F.3.5 位移计读数记录
