《砌体工程现场检测技术标准》GB/T 50315-2011
4 原位轴压法 / 4.1 一般规定
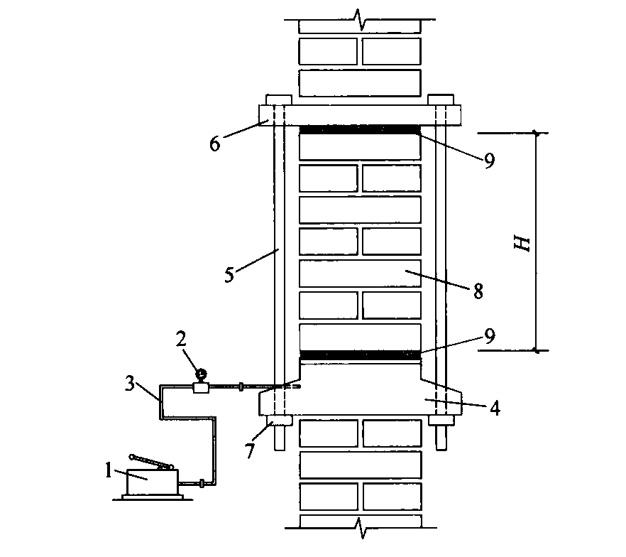
4.1.1 原位轴压法(图4.1.1)适用于推定240mm厚普通砖砌体或多孔砖砌体的抗压强度。

1—手动油泵;2—压力表;3—高压油管;4—扁式千斤顶;5—钢拉杆(共4根);6—反力板;
7—螺母;8—槽间砌体;9—砂垫层;H—槽间砌体高度
4.1.2 测试部位应具有代表性,并应符合下列要求:
1 测试部位宜选在墙体中部距楼、地面1m左右的高度处;槽间砌体每侧的墙体宽度不应小于1.5m。
2 同一墙体上,测点不宜多于1个,且宜选在沿墙体长度的中间部位;多于1个时,其水平净距不得小于2.0m。
3 测试部位不得选在挑梁下、应力集中部位以及墙梁的墙体计算高度范围内。