《砌体工程现场检测技术标准》GB/T 50315-2011
6 切制抗压试件法 / 6.3 测试步骤
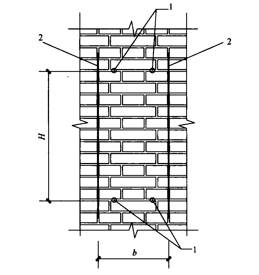
6.3.1 选取切制试件的部位后,应按现行国家标准《砌体基本力学性能试验方法标准》GB/T 50129的有关规定,确定试件高度H和试件宽度b(图6.3.1),并应标出切割线。在选择切割线时,宜选取竖向灰缝上、下对齐的部位。

1—钻孔;2—切割线;H—试件高度;b—试件宽度
6.3.2 应在拟切制试件上、下两端各钻2个孔,并应将拟切制试件捆绑牢固,也可采用其他适宜的临时固定方法。
6.3.3 应将切割机的锯片(锯条)对准切割线,并垂直于墙面,然后应启动切割机,并应在砖墙上切出两条竖缝。切割过程中,切割机不得偏转和移位,并应使锯片(锯条)处于连续水冷却状态。
6.3.4 应凿掉切制试件顶部一皮砖;应适当凿取试件底部砂浆,并应伸进撬棍,应将水平灰缝撬松动,然后应小心抬出试件。
6.3.5 试件搬运过程中,应防止碰撞,并应采取减小振动的措施。需要长距离运输试件时,宜用草绳等材料紧密捆绑试件。
6.3.6 试件运至试验室后,应将试件上下表面大致修理平整;应在预先找平的钢垫板上坐浆,然后应将试件放在钢垫板上;试件顶面应用1∶3水泥砂浆找平。试件上、下表面的砂浆应在自然养护3d后,再进行抗压测试。测量试件受压变形值时,应在宽侧面上粘贴安装百分表的表座。
6.3.7 量测试件截面尺寸时,除应符合现行国家标准《砌体基本力学性能试验方法标准》GB/T 50129的有关规定外,在量测长边尺寸时,尚应除去长边两端残留的竖缝砂浆。
6.3.8 切制试件的抗压试验步骤,应包括试件在试验机底板上的对中方法、试件顶面找平方法、加荷制度、裂缝观察、初裂荷载及破坏荷载等检测及测试事项,均应符合现行国家标准《砌体基本力学性能试验方法标准》GB/T 50129的有关规定。