《砌体工程现场检测技术标准》GB/T 50315-2011
7 原位单剪法 / 7.1 一般规定
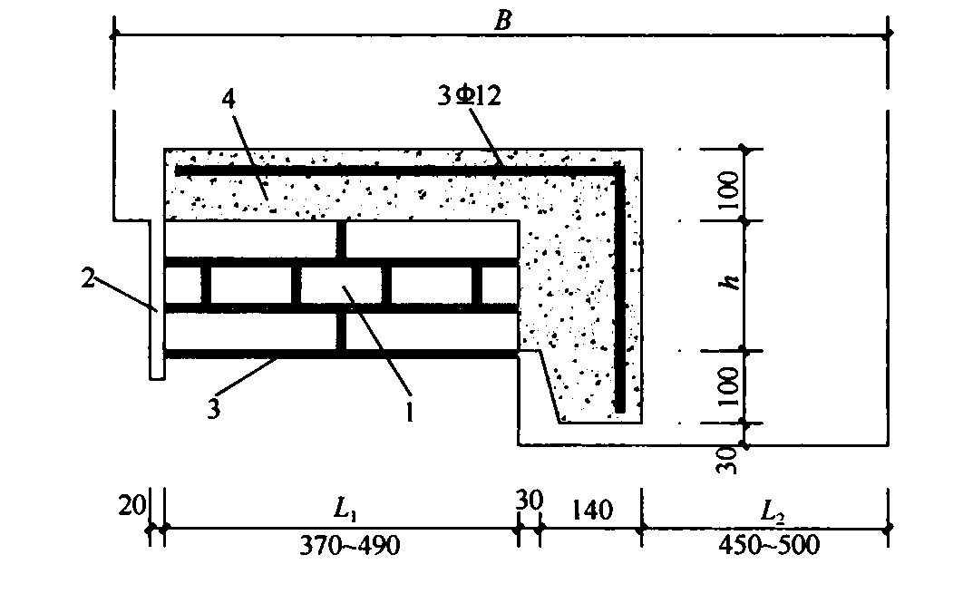
7.1.1 原位单剪法适用于推定砖砌体沿通缝截面的抗剪强度。检测时,测试部位宜选在窗洞口或其他洞口下三皮砖范围内,试件具体尺寸应符合图7.1.1的规定。

h—三皮砖的高度;B—洞口宽度;L1—剪切面长度;
L2—设备长度预留空间
7.1.2 试件的加工过程中,应避免扰动被测灰缝。
7.1.3 测试部位不应选在后砌窗下墙处,且其施工质量应具有代表性。
7.1.1 原位单剪法适用于推定砖砌体沿通缝截面的抗剪强度。检测时,测试部位宜选在窗洞口或其他洞口下三皮砖范围内,试件具体尺寸应符合图7.1.1的规定。

7.1.2 试件的加工过程中,应避免扰动被测灰缝。
7.1.3 测试部位不应选在后砌窗下墙处,且其施工质量应具有代表性。