《贯入法检测砌筑砂浆抗压强度技术规程》JGJ/T 136-2017
附录A 贯入仪校准 / A.1 贯入力校准
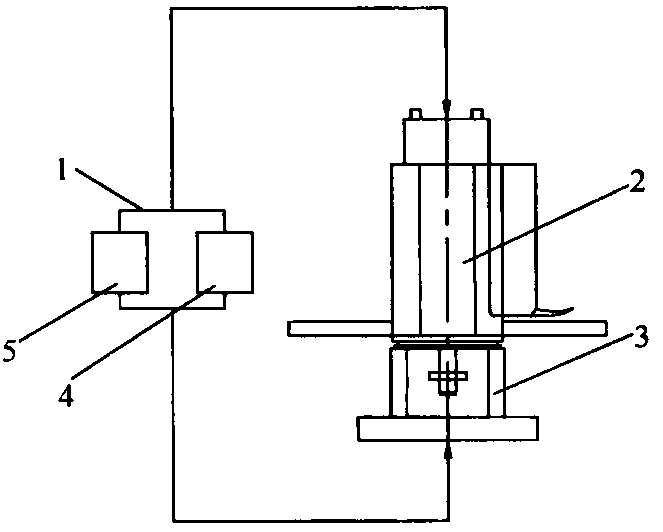
A.1.1 贯入力的校准应在弹簧拉压试验机上进行,校准时贯入仪的工作弹簧应处于自由状态(图A.1.1)。

1—弹簧拉压试验机;2—贯入仪;3—U形架;4—荷载表;5—位移表
A.1.2 弹簧拉压试验机的性能应符合下列规定:
1 位移分度值应为0.01mm;
2 负荷分度值应为0.1N;
3 位移误差应为±0.01mm;
4 负荷误差应小于0.5%的示值误差。
A.1.3 贯入力的校准应按下列步骤进行:
1 将U形架平放在试验机工作台上,然后将贯入仪的贯入杆外端置于U形架的U形槽中;
2 将弹簧拉压试验机压头与贯入杆端面接触;
3 下压(20±0.10)mm,弹簧拉压试验机读数应为(800±8)N。