《贯入法检测砌筑砂浆抗压强度技术规程》JGJ/T 136-2017
3 检测仪器 / 3.1 仪器及性能
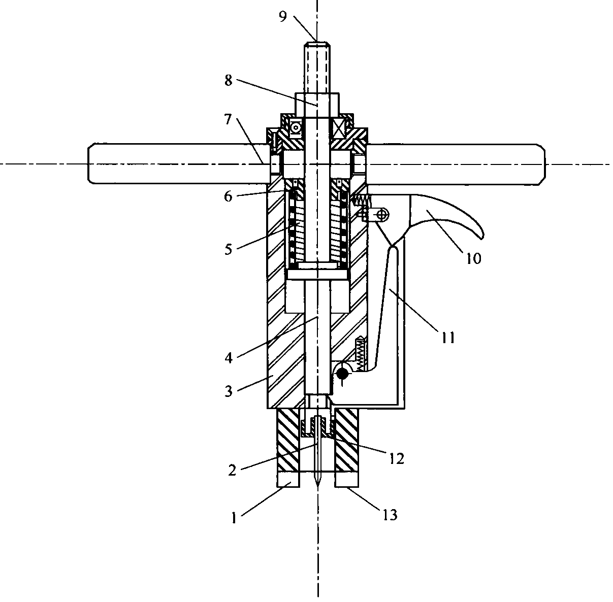
3.1.1 贯入法检测砌筑砂浆抗压强度使用的仪器应包括贯入式砂浆强度检测仪(以下简称贯入仪,图3.1.1)和数字式贯入深度测量表(以下简称贯入深度测量表)。

1—扁头;2—测钉;3—主体;4—贯入杆;5—工作弹簧;6—调整螺母;7—把手;8—螺母;9—贯入杆外端;10—扳机;11—挂钩;12—贯入杆端面;13—扁头端面
3.1.2 贯入仪、贯入深度测量表及测钉必须具有产品合格证,并应在贯入仪的明显位置具有下列标志:名称、型号、制造厂名、商标、出厂日期等。在使用时,贯入仪应按本规程第3.2节的要求进行校准。
3.1.3 贯入仪应符合下列规定:
1 贯入力应为(800±8)N;
2 工作行程应为(20±0.10)mm。
3.1.4 贯入深度测量表(图3.1.4)应符合下列规定:
1 最大量程不应小于20.00mm;
2 分度值应为0.01mm。

1—数字式百分表;2—清零键;3—开关;4—扁头;5—测头;6—测量单位选择键;7—保持键
3.1.5 测钉宜采用高速工具钢制成,长度应为(40.00~40.10)mm,直径应为(3.50±0.05)mm,尖端锥度应为45.0°±0.5°。测钉量规的量规槽长度应为(39.50~39.60)mm。
3.1.6 测钉和测钉量规的几何尺寸可由检测单位自行测量核查。以100根测钉为一批次,随机抽取3根进行测量,不足100根按一个批次计。抽取的测钉都合格时,则该批测钉合格;否则应逐根核查测钉的几何尺寸,选取合格的测钉使用。
3.1.7 贯入仪和贯入深度测量表使用时的环境温度应为(—4~40)℃。
3.1.8 贯入仪在闲置和保存时,工作弹簧应处于自由状态。