《钢结构工程施工质量验收标准》GB 50205-2020
附录C 金属屋面系统抗风揭性能检测方法
C.0.1 金属屋面系统抗风揭性能检测应符合下列规定:
1 金属屋面系统应包括金属屋面板、底板、支座、保温层、檩条、支架、紧固件等。
2 金属屋面系统抗风揭性能检测应采用实验室模拟静态、动态压力加载法。
3 对于强(台)风地区(基本风压≥0.5kN/m2)的金属屋面和设计要求进行动态风载检测的建筑金属屋面应采用动态风载检测。
4 金属屋面系统抗风揭性能检测应选取金属屋面中具有代表性的典型部位进行检测,被检测屋面系统中的材料、构件加工、安装施工质量等应与实际工程情况一致,并应满足设计要求并符合和相应技术标准的规定。
5 金属屋面典型部位的风荷载标准值ws应由设计单位给出,检测单位应根据设计单位给出的风荷载标准值ws进行检测。
C.0.2
金属屋面静态压力抗风揭检测应符合下列规定:
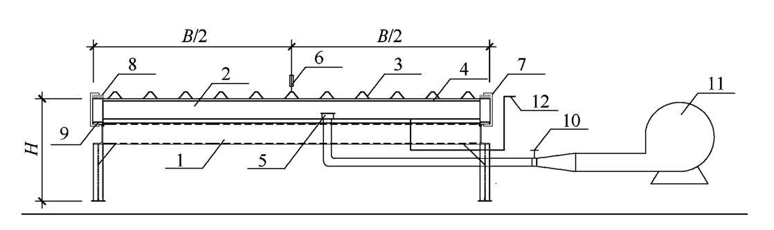
1 检测装置应由测试平台、风源供给系统、压力容器、测量系统及试件系统组成,测试平台的尺寸应为:长度L≥7320mm,宽度B≥3660mm,高度H≥1200mm,检测装置的构成如图C.0.2所示。
2 检测装置应满足构件设计受力条件及支撑方式的要求,测试平台结构应具有足够的强度、刚度和整体稳定性能。
3 压力测量系统最大允许误差应为示值的±1%且不大于0.1kPa,位移测量系统最大允许测量误差不应大于满量程的0.25%,使用前应经过校准。

1—测试平台;2—压力容器;3—试件系统;4—檩条;5—进风口挡板;
6—位移计;7—固定夹具;8—木方;9—密封环垫;10—压力控制装置;
11—供风设备;12—压力计
1)从0开始,以0.07kPa/s加载速度加压到0.7kPa;
2)加载至规定压力等级并保持该压力时间60s,检查试件是否出现破坏或失效;
3)排除空气卸压回到零位,检查试件是否出现破坏或失效;
4)重复上述步骤,以每级0.7kPa逐级递增作为下一个压力等级,每个压力等级应保持该压力60s,然后排除空气卸压回到零位,再次检查试件是否出现破坏或失效;
5)重复测试程序直到试件出现破坏或失效,停止试验并记录破坏前一级压力值。
5 出现以下情况之一应判定为试件的破坏或失效,破坏或失效的前一级压力值应为抗风揭压力值ωu。
1)试件不能保持整体完整,板面出现破裂、裂开、裂纹、断裂一级鉴定固定件的脱落;
2)板面撕裂或掀起及板面连接破坏;
3)固定部位出现脱落、分离或松动;
4)固定件出现断裂、分离或破坏;
5)试件出现影响使用功能的破坏或失效(如影响使用功能的永久变形等);
6)设计规定的其他破坏或失效。
6 检测结果的合格判定应符合下列规定:
(C.0.2)
式中:K ——抗风揭系数;
ωu ——抗风揭压力值;
ωs ——风荷载标准值。
C.0.3
金属屋面动态压力抗风揭检测应符合下列规定:
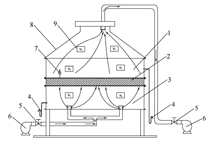
1 动态风荷载检测装置应由试验箱体、风压提供装置、控制设备及测量装置组成(图C.0.3-1)。试验箱体不小于3.5m×7.0m,应能承受至少20kPa的压差。

1—上部压力箱;2—试件及安装框架;3—下部压力箱;4—压力测量装置;
5—压力控制装置;6—供风设备;7—位移测量装置;
8—集流罩;9—观察窗
3 动态风荷载应取1.4倍风荷载标准值,即wd=1.4ws。
4 检测步骤应符合下列规定:
1)对试件下部压力箱施加稳定正压,同时向上部压力箱施加波动的负压,待下部箱体压力稳定,且上部箱体波动压力达到对应值后,开始记录波动次数。
2)波动负压范围应为负压最大值乘以其对应阶段的比例系数,波动负压范围和波动次数应符合表C.0.3的规定。
表C.0.3 波动加压顺序
3)波动压力差周期为10s±2s,如图C.0.3-2所示。


1)试件与安装框架的连接部分发生松动和脱离;
2)面板与支承体系的连接发生失效;
3)试件面板产生裂纹和分离;
4)其他部件发生断裂、分离以及任何贯穿性开口;
5)设计规定的其他破坏或失效。
6 检测结果的合格判定应符合下列规定:
1)动态风荷载检测结束,试件未失效;
2)继续进行静态风荷载检测至其破坏失效,且应满足下式要求:
(C.0.3)
式中:K ——抗风揭系数;
ωu ——抗风揭压力值;
ωs ——风荷载标准值。