《钢结构工程施工质量验收标准》GB 50205-2020
7 钢零件及钢部件加工 / 7.3 矫正和成型
7.3.1 碳素结构钢在环境温度低于-16℃,低合金结构钢在环境温度低于-12℃时,不应进行冷矫正和冷弯曲。
检查数量:全数检查。
检验方法:检查制作工艺报告和施工记录。
7.3.2 热轧碳素结构钢和低合金结构钢,当采用热加工成型或加热矫正时,加热温度、冷却温度等工艺应符合现行国家标准《钢结构工程施工规范》GB 50755的规定。
检查数量:全数检查。
检验方法:检查制作工艺报告和施工记录。
7.3.3 矫正后的钢材表面,不应有明显的凹痕或损伤,划痕深度不得大于0.5mm,且不应大于该钢材厚度允许负偏差的1/2。
检查数量:全数检查。
检验方法:观察检查和实测检查。
7.3.4 钢板、型钢冷矫正的最小曲率半径和最大弯曲矢高应符合表7.3.4的规定。
检查数量:按冷矫正的件数抽查10%,且不应少于3个。
检验方法:观察检查和实测检查。
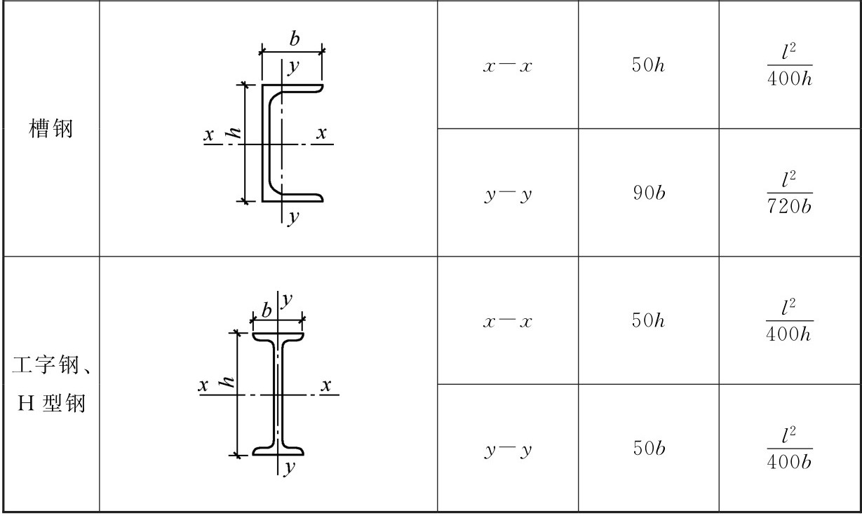
表7.3.4 冷矫正的最小曲率半径和最大弯曲矢高(mm)


7.3.5 板材和型材的冷弯成型最小曲率半径应符合表7.3.5的规定。
检查数量:全数检查。
检验方法:观察检查和实测检查。
表7.3.5 冷弯成型加工的最小曲率半径



7.3.6 钢材矫正后的允许偏差应符合表7.3.6的规定。
检查数量:按矫正件数抽查10%,且不应少于3个。
检验方法:观察检查和实测检查。
表7.3.6 钢材矫正后的允许偏差(mm)


7.3.7 钢管弯曲成型和矫正后的允许偏差应符合表7.3.7的规定。
检查数量:全数检查。
检验方法:用样板和尺(仪器)实测检查。
表7.3.7 钢管弯曲成型和矫正后的允许偏差(mm)

7.3.8 钢板压制或卷制钢管时,应符合下列规定:
1 完成压制或卷制后,应采用样板检查其弧度,样板与管内壁的间隙应符合表7.3.8的规定。
序号 | 钢管直径d | 样板弦长 | 样板与管内壁的 允许间隙 |
---|---|---|---|
1 | d≤1000 | d/2,且不小于500 | 1.0 |
2 | 1000<d≤2000 | d/4,且不小于1500 | 1.5 |
3 压制或卷制时,不得采用锤击方法矫正钢板。
检查数量:全数检查。
检验方法:用套模或游标卡尺检查。